您当前的位置:成果库 > 一种低轴比多臂平面缝隙螺旋天线
基本信息
- 成果类型 高等院校
- 委托机构 西安电子科技大学
- 成果持有方 西安电子科技大学
- 行业领域 通讯领域
- 项目名称 一种低轴比多臂平面缝隙螺旋天线
- 知识产权 发明专利
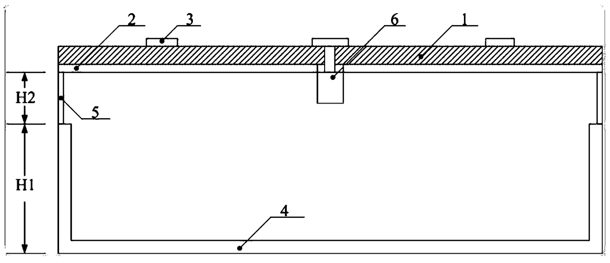
- 项目简介 本发明公开了一种低轴比多臂平面缝隙螺旋天线,包括圆形介质基板、圆形金属贴片、串馈微带线、金属反射腔、介质支架环及同轴接口,所述的圆形介质基板的背面设置腐蚀多个缝隙的圆形金属贴片,圆形介质基板的正面设置腐蚀的串馈微带线,所述圆形介质基板的下方设有同轴接口及金属反射腔,所述圆形介质基板通过介质支架环与金属反射腔连接。该低轴比多臂平面缝隙螺旋天线馈电网络简单、馈电幅度可调节、驻波小、轴比小;该低轴比多臂平面缝隙螺旋天线既可以保证多个缝隙间稳定的相位差,又可以保证各缝隙馈电幅度一致,波束范围内相位中心稳定,宜推广使用。
-
交易信息
- 意向交易额 面议
- 挂牌时间 2017/11/03
- 委托机构 西安电子科技大学
- 联系人姓名 王小刚
- 联系人电话 15802954800
- 联系人邮箱 745490733@qq.com
- 分享至:


399
2018/09/01
咨询成果
发布成果